Регулируемая приватность в сочетании с жалюзи
Классические офисные стеклянные перегородки на алюминиевом профиле системы Glass Строй Basic идеально решают планировочные задачи любой сложности.
Содержание
Преимущества каркасных перегородок Glass Строй Basic
Система каркасных офисных перегородок позволяет:


-
Реализовывать в помещениях планировочные решения различной степени сложности, возводить конструкции толщиной 65мм,75мм и высотой до 5м (с использованием усиленного профиля), организовывать нелинейные пространства с поворотами как на прямой угол, так и на произвольный угол. Длина перегородки определяется дизайн проектом или архитектурным решением и не ограничена профильной системой. Видимая алюминиевая часть профиля, при этом, составляет 26 мм при использовании стойки узкой и 40 мм при использовании стойки широкой;
-
Обеспечивать хорошую звукоизоляцию помещений за счёт двойного остекления, использования современных звукоизоляционных материалов при монтаже перегородок, использования специального заполнения и дополнительных материалов контура примыкания;
-
Устанавливать в остеклённые секции перегородки управляемые межрамные жалюзи различных цветов;
-
Устанавливать в перегородку двери различных типов, толщин и показателей звукоизоляции:
-
одностворчатые, двустворчатые;
-
толщиной от 40 мм до 72 мм, цельностеклянные толщиной 8,10 мм;
-
распашные и откатные;
-
остеклённые (в том числе со встроенными жалюзи), цельностеклянные маятниковые и распашные, так же полностью «глухие» двери с заполнением ЛДСП и комбинированные.
-
-
применять для отделки алюминиевых профилей перегородки порошковую полимерную краску различных цветов и текстур, нанесение порошковой краски цветом под дерево;
-
использовать различные декоративные покрытия глухих секций перегородок и различные виды стекла для остекления.
Высоты дверей, встраиваемых в каркасные перегородки, варьируются от 2000 мм до 3000 мм, исходя из технических возможностей каждого типа алюминиевых дверей, ширины дверных полотен выполняются от 350мм до 900мм.
При установке каркасных перегородок нет необходимости согласовывать их установку с госучреждениями и менять план БТИ. Перегородки являются быстроразборными.
Технические характеристики и принципиальное крепление в проёме
Компания Glasstroy предлагает два варианта каркасных перегородок разной толщины:
Система М3, толщиной 75мм, видимая часть профиля с фасада стекла 26 или 40мм


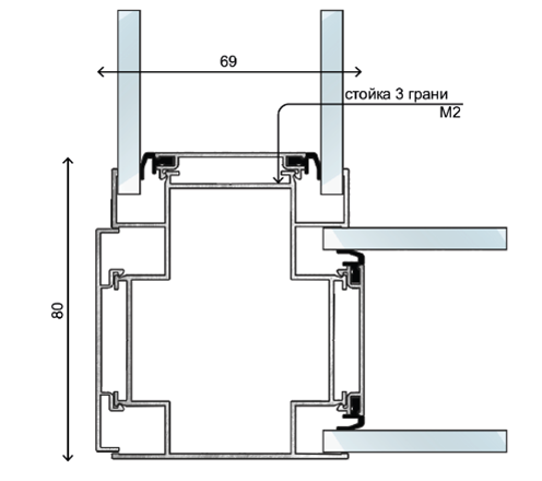
Система М2, толщиной 65мм (визуально более лёгкая), видимая часть профиля с фасада стекла 26 или 40 мм


Особенности установки перегородок
Стационарные офисные перегородки состоят из системы алюминиевых тонкостенных профилей, набора элементов крепления, уплотняющих элементов, элементов декоративной отделки секций перегородки, окрашенных порошковой окраской по каталогу RAL. При необходимости перегородка комплектуется различными типами алюминиевых дверей, звукоизоляционными материалами, заполняющими полости глухих секций, встроенными управляемыми жалюзи, дверными замками, доводчиками, ограничителями открывания для дверей и т.д. Установка перегородок производится с использования скрытых стальных элементов (монтажных уголков), которые, после установки окрашенных алюминиевых профилей не видны и полностью скрыты внутри алюминиевого каркаса. Конечный вид установленной каркасной перегородки эстетичен и лаконичен.
Установка каркасных алюминиевых перегородок производится в уже отделанные проёмы Заказчика с финишной чистовой отделкой. Если установка перегородок производится в проём из ГКЛ конструкций заказчика, необходимо обеспечить наличие закладной детали по периметру установки перегородок.

Тип заполнения перегородок
- Глухая перегородка – тип стационарной перегородки, имеющей в качестве заполнения непрозрачные листы Гипсовинила с декоративным финишным покрытием (толщина ГКЛ 12,5 мм), листы ЛДСП или МДФ (с покрытием Egger, Шпон или окрашенные эмалью по каталогу RAL, толщина 8мм (16 мм- опционально, с фрезеровкой торцов панелей).
части, т.е. в качестве заполнения использованы непрозрачные материалы: листы гипсокартона
толщиной 12,5 мм, МДФ или ЛДСП толщиной 8 мм. Также допускается установка панелей МДФ или ЛДСП толщиной 16 мм с кромками обработанными специальным образом.


- Остеклённая перегородка – тип стационарной перегородки, в которой в качестве
заполнения используется стекло толщинами 5,6,8,10мм или другое светопрозрачное заполнение, такое как монолитный или сотовый поликарбонат, оргстекло (Каркасные перегородки), стекло тонированное в массе разных толщин, стекло толщиной 10 мм с еврокромкой по периметру, склеенное торцами друг с другом с помощью прозрачного 3М скотча (перегородки Twin) .
Виды остекленных перегородок




Каркасная перегородка в целом – это перегородка, основой которой является несущий каркас из вертикальных и горизонтальных алюминиевых профилей, скреплённых стальными оцинкованными монтажными уголками, в которые устанавливается прозрачное или глухое заполнение. Профили каркасной перегородки устанавливают по периметру проёма, а также, в перегородках системы Basic, вертикальные и горизонтальные профили разделяют перегородки на секции шириной от 300мм до 1200мм.


Фото перегородок































Варианты встраиваемых дверей в каркасные перегородки
По типу распашного открывания дверные блоки бывают левыми и правыми (рассматривать всегда со стороны открывания дверного блока.
Что такое правое и левое открывание дверей?
Для простоты понимания какого открывания дверь рассматривать её необходимо со стороны открывания (т.е. открывание «на себя»). Если петли при открытии двери находятся с правой стороны - то дверь является ПРАВОЙ, если петли при открытии двери находятся с левой стороны, то данная дверь будет являться ЛЕВОЙ.
Если смотреть на плане, разница разделения вариантов открывания дверей выглядит таким образом:
Система профилей перегородок и дверей позволяет применять для отделки алюминиевых профилей перегородки и алюминиевых дверей порошковую полимерную краску различных цветов по каталогу RAL. Двери, встраиваемые в перегородки, окрашены так же, как и основной перегородочный профиль и не отличаются внешне цветом или текстурой алюминиевого покрытия.
Дверные коробки, устанавливаемые в каркасные перегородки Basic имеют притвор с уплотнителем для полотна:


Рассмотрим варианты дверей, которые можно встроить в каркасные перегородки системы Basic. Двери, толщиной 40мм и 51мм можно встраивать как в перегородки толщиной 65мм, так и в перегородки толщиной 75мм, они являются универсальными.
- Simple Vitrage (одинарный витраж). Толщина 40мм, максимальный габарит полотна 2800х900мм


- Double Vitrage (двойной витраж). Толщина 40мм, максимальный габарит полотна 2700х900мм, Возможно исполнение с внутренними межрамными жалюзи.



- Estet Glass 1,2 (двойное заполнение). Толщина 40мм, максимальный габарит полотна 2600х850мм



- Estet Décor, Estet Combi (двойное глухое или комбинированное заполнение). Толщина 40мм, максимальный габарит полотна 2600х850мм


- Loft (одинарный витраж). Толщина 40мм, максимальный габарит полотна 2800х900мм, алюминиевая раскладка на стекле.


- Concept M1 (двойное остекление). Толщина 51мм, максимальный габарит полотна 2800х900мм, повышенная звукоизоляция.



- Concept M2 (двойное остекление). Толщина 63мм, максимальный габарит полотна 3000х1000мм, повышенная звукоизоляция (в перегородки 65мм).



- Concept M3 (двойное остекление). Толщина 72мм, максимальный габарит полотна 3000х1000мм, повышенная звукоизоляция (в перегородки 75мм).



- Phantom (двойное остекление). Толщина 72мм, максимальный габарит полотна 3000х900мм, повышенная звукоизоляция, вклеенное стекло (в перегородки 75мм).



Двери Concept M1, M2, M3 можно выполнить с глухим заполнением ЛДСП по каталогу Egger.
Фото вариантов встраиваемых дверей































Варианты поворотных элементов каркасных перегородок
Система перегородок Basic включает в себя набор поворотных элементов, которые обеспечивают закрепление стёкол под углами 90 градусов и тупыми углами от 90 и более.
Поворотные элементы поставляются на объект уже в окрашенном виде, устанавливаются на всю высоту перегородок, без прерываний и стыковки. Горизонтальные стойки закрепляются уже к поворотным элементам. Закрепление поворотных элементов в проёме производится с помощью монтажных уголков.

















Возможность использования встроенных межрамных жалюзи в каркасных перегородках

В каркасных перегородках обычно используются горизонтальные алюминиевые жалюзи с шириной ламелей 25 мм с соответствующим карнизом и нижней планкой. Также есть возможность установки жалюзи с ламелями шириной 16 мм (нестандартное решение). Цвет жалюзи подбирается по каталогам производителей. В каталогах имеются однотонные, металлизированные и древесные декоры (по наличию). Также есть варианты жалюзи с перфорацией ламелей.
Жалюзи устанавливают поворотные, подъёмные жалюзи не используются при установке в каркасные перегородки. Поворот ламелей осуществляется за счёт поворота ручки управления жалюзи, которая располагается на фасаде перегородки.
Ручка управления жалюзи



Фото перегородок с жалюзи













Декоративные элементы перегородки Basic придают ей высокие эстетические свойства, а разнообразие вариантов заполнения секций делает дизайн-возможности этой системы безграничными.
Каркасная система Glass Строй Basic - это перегородки из металлического каркаса с различными видами наполнения: стекло толщиной 5 мм, 6мм 8мм 10мм в перегородку по желанию заказчика можно установить жалюзи с механическим или электрическим приводом, ГКЛ различных цветов, ДСП или любой материал толщиной до 13мм. Перегородки для офиса могут быть с большим количеством модификаций и являются по своей сути конструктором, которые собирается индивидуально под конкретные цели и условия заказчика.
